Lotus патентует коробку передач с двумя сцеплениями
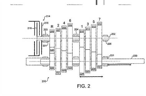
Компания Lotus подала заявку на получение патента на собственную семиступенчатую роботизированную коробку передач с двумя сцеплениями. От аналогичных трансмиссий других разработчиков она отличается более компактными размерами, меньшим весом и более простой конструкцией с использованием меньшего числа деталей.
Новая коробка передач Lotus подходит для автомобилей с передним или задним приводом, а также для машин с передне- или среднемотороной компоновкой. Трансмиссия построена на основе обычной "механики", но оснащается двумя дисками сцепления, каждый из которых отвечает за четные и нечетные передачи соответственно. Ожидается, что КПП позволит менять ступени как в полностью автоматическом режиме, так и в ручном с помощью подрулевых лепестков.
По предварительной информации, "робот" с двумя сцеплениями фирма Lotus планирует продавать любым заинтересованным компаниям, однако пока не намерена устанавливать подобную трансмиссию на собственные автомобили.

Одна из иллюстраций конструкции новой КПП из патентной заявки Lotus
|